Home Blog Page 185

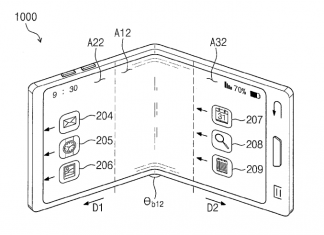
Motorola Patents Foldable Smartphone That Becomes a Tablet

Motorola has just patented a new device and they're going with the trend, by making it a foldable smartphone, that turns into a tablet....

Google Assistant Smart Displays Made by JBL, Lenovo and LG Will...

Earlier this year, at CES 2018 Google announced its Smart Displays platform, which debuted with the aid of device makers like LG, Lenovo and...

Lenovo One Mix Yoga Now Up for Preorder: 7 Inch Laptop...

This week's strangest launch has got to be the one of the Lenovo One Mix Yoga. The device is a 7 inch laptop, that...

ASUS ZenBook Pro 15 Coming With core i9 CPU, Solid NVIDIA...

ASUS is readying yet another laptop, this time one with a higher end CPU and improved graphics. It's obviously part of the ZenBook series,...

iOS 13 Said to Come With Improved iPad Features

We're rubbing our paws since there's a lot of software goodies coming over the next weeks. There's Microsoft BUILD 2018, Google I/O 2018 and...

GPD Win 2 Handheld Gaming PC Starts Shipping, After Successful Crodwfunding

We've covered a few of the GPD gaming tablets and consoles over the past year or so and it seems that the latest one...

Smartron tbook flex is a Windows 10 2 in 1 Laptop...

One of the latest hybrid devices with Windows is the Smartron tbook flex, which debuted in India this week. It's supposed to be a...

Detachables Are Taking Over The Tablet Market, According to Experts From...

Since a few quarterly reports are in, some companies have revealed their sales of tablets and similar devices, so we know how the tablet...

Google Home Smart Display Hinted at Again, by Assistant Cooking Features

Google Assistant got some nifty new features this week, becoming better at suggesting and presenting recipes to users. This may be yet another hint...

Samsung Patents Folding, Transparent Smartphone With Multiple Hinges

The latest episode in the series of Samsung patent leaks involves a device that folds and a proposal for a transparent device. The US...

Follow us on:

1,999FansLike
125FollowersFollow
1,540FollowersFollow
6,240SubscribersSubscribe
Advertisment

If you resolve to gamble with on-line casino Zodiac, then you can see greater than 500 games. Put aside a small quantity of real cash and try out these low deposit casinos. You’re just testing the water, and that shouldn’t cost $1 minimum deposit casino canada an arm and a leg. Free Spins could be provided as a no deposit bonus, which means the investment isn't wanted at all to spin some slots and win actual cash.