Onyx BOOX Max3 is an E Ink Tablet, Also an eReader...
                Onyx is a name you probably haven't heard, but you're probably going to remember them after this piece. They came up with a device...            
            
        Google Assistant Ambient Mode Makes Your Phone or Tablet a Smart...
                Google Assistant has become pretty much omnipresent, so much so that we're seeing it on entry level phones even, from Nokia. Now we learn...            
            
        GPD Has Created a Nintendo Switch Clone, That Looks Rather Compact
                We've written about GPD a bunch of times, since it makes portable Windows-based consoles and tablets. They have the GPD Win series, GPD Pocket...            
            
        IFA 2019: Lenovo Shows Off Smart Tab 10 and Smart Tab...
                Lenovo was pretty prolific at IFA 2019, just like they do every year and brought fourth two new Smart Tab devices. I'm talking about...            
            
        Samsung Galaxy Tab S6 Now Available in Stores and Online at...
                Samsung moved reasonably fast with its latest flagship tablet, the Samsung Galaxy Tab S6. The device has now been made available in stores and...            
            
        IFA 2019: TCL Debuts Alcatel Smart Tab 7 Affordable Tablet, Priced...
                TCL brought a few new smartphones to IFA 2019, in Berlin, some under its own brand and some branded Alcatel, but they also brought...            
            
        IFA 2019: Samsung Galaxy Tab Active Pro Rugged Tablet Debuts With...
                Samsung is celebrating 50 years of existence at IFA 2019, but also unveiling some new hardware products. Those include a rugged tablet, going by...            
            
        Samsung Galaxy Tab S6 Debuts in Taiwan, Priced at $729
                Samsung's latest flagship tablet, the Galaxy Tab S6 is expanding its availability by entering the Taiwanese market this week. The device is priced at...            
            
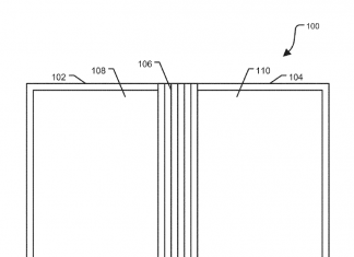
        Dell Files Fresh Patent for Upcoming Foldable Windows 10 Device
                Microsoft and Samsung aren't the only ones with patents of upcoming foldable phones, but also Dell. The company has been working on a foldable...            
            
        ASUS Debuts Chromebook C425 With Intel Core m3 CPU Inside
                ASUS just debuted another Chrome OS device, the Chromebook C425, that makes use of an Intel Core m3 CPU. It's basically a clamshell version...            
            
         
                














